В статье рассмотрим схему электропроводки КАМАЗ 5511 и предоставим видео-инструкцию по самостоятельному монтажу. Правильная электропроводка обеспечивает надежную работу электрических систем и защищает схемы от повреждений. Поделимся советами, которые помогут избежать распространенных ошибок при установке и обслуживании проводки, сделав ваш КАМАЗ более безопасным и эффективным.
Защитные системы электрооборудования
Для обеспечения безопасной эксплуатации электрооборудования разработчики внедрили следующие решения:
- Дистанционный выключатель ВК 860 для аккумуляторных батарей. Он предназначен для отключения батарей от электрической системы автомобиля во время длительных остановок, а также для защиты от коротких замыканий (подробности можно найти в статье о схеме электропроводки Камаз 5320);
- Защитная блокировка, предотвращающая отключение аккумуляторной батареи при работающем двигателе и генераторе. Это необходимо для исключения перенапряжений в электрической системе. Случайное срабатывание выключателя невозможно до полного отключения генератора;
- Регулятор напряжения, который обеспечивает стабильное поддержание номинального напряжения в электросети. Его работа направлена на постоянную зарядку аккумуляторной батареи.
Примечание: разработчики пришли к выводу, что стоимость недорогого защитного устройства может надежно защитить дорогостоящее оборудование.
Эксперты отмечают, что схема электропроводки КАМАЗ 5511 требует особого внимания к вопросам защиты как электросхем, так и потребителей. Важно обеспечить надежную изоляцию проводов и использование качественных компонентов, чтобы избежать коротких замыканий и перегрева. Специалисты рекомендуют применять предохранители и автоматические выключатели, которые способны защитить электрическую систему от перегрузок. Также стоит обратить внимание на правильное заземление, что значительно снижает риск поражения электрическим током. Важно регулярно проводить диагностику и обслуживание электросистемы, чтобы выявлять и устранять потенциальные проблемы до их возникновения. Таким образом, соблюдение этих рекомендаций позволит обеспечить безопасную и эффективную работу автомобиля.

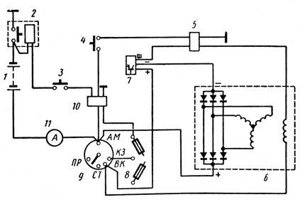
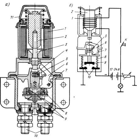
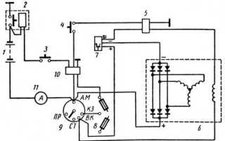
Дистанционный выключатель
Выключатель аккумуляторный батарей с дистанционным типом управления имеет 3 основные части:
- контактное устройство;
- электромагнит;
- систему передачи воздействия штока электромагнита на контактное устройство.
Для включения в электросеть автомобиля всех потребителей, получающих энергию от аккумулятора, водитель активирует кнопку «К» (на схеме вверху).
В результате этого:
- ток подается на обмотку электромагнита (№1 на схеме «А»);
- якорь (№2) со штоком (№3) передают усилие на шток (№4) контактного устройства;
- этот шток приводит в действие фиксатор (№5), преодолевающий усилие пружин (№8);
- одновременно с этим фиксатор воздействует на рычаг (№6), который замыкает контакты выключателя (№№9,10). Проводка КАМАЗ 5511 становится активной.
Для отключения потребителей от аккумулятора, водитель должен повторно нажать «К» (на схеме «Б»).
При этом:
- на обмотку электромагнита (№1) подается ток;
- приводятся в движение шток (№4) и рычаг (№6);
- в результате их воздействия разблокируется фиксатор (№5);
- контакты размыкаются.
Справочно: отключение батарей происходит только при постановке в нейтральное положение выключателя приборов и стартера.
Активируется функция из кабины с помощью кнопочного выключателя путем нажатия штока, снабженного резиновым колпаком.
| Элемент защиты | Назначение | Место установки (пример) |
|---|---|---|
| Предохранитель | Защита от короткого замыкания и перегрузки | Блок предохранителей в кабине, блок предохранителей на раме |
| Реле | Коммутация сильноточных цепей с помощью слаботочного сигнала | Блок реле в кабине, блок реле на раме |
| Диод | Защита от обратной полярности, выпрямление тока | Цепи генератора, цепи стартера, цепи освещения |
| Термореле | Защита от перегрева (например, электродвигателей) | Вентилятор охлаждения, отопитель кабины |
| Автоматический выключатель | Многоразовая защита от перегрузки и короткого замыкания | Цепи мощных потребителей (например, лебедка, компрессор) |
| Варистор | Защита от импульсных перенапряжений | Цепи электронных блоков управления (ЭБУ), датчиков |
| Защитный диод (стабилитрон) | Стабилизация напряжения, защита от перенапряжений | Цепи питания чувствительных электронных компонентов |
| Плавкая вставка | Защита от очень больших токов при серьезных неисправностях | Цепь аккумулятора, цепь генератора |
| Заземление | Защита от поражения электрическим током, обеспечение правильной работы электрооборудования | Корпус автомобиля, рама, двигатель |
Интересные факты
Вот несколько интересных фактов о схеме электропроводки КАМАЗ 5511 и защите электросхем и потребителей:
-
Многоуровневая защита: В электросхеме КАМАЗ 5511 предусмотрены несколько уровней защиты, включая предохранители и реле. Это позволяет предотвратить повреждение электрических компонентов в случае короткого замыкания или перегрузки, обеспечивая надежность работы автомобиля.
-
Система заземления: Важным аспектом схемы электропроводки является система заземления, которая помогает избежать накопления статического электричества и защищает электрооборудование от перенапряжений. Это особенно актуально для грузовых автомобилей, работающих в сложных условиях.
-
Универсальность и модульность: Электросхема КАМАЗ 5511 разработана с учетом возможности модульного расширения. Это означает, что при необходимости можно легко добавлять новые электрические потребители или системы, такие как дополнительные освещения или системы безопасности, без значительных изменений в основной проводке.

Регулятор напряжения
На автомобилях КАМАЗ в электрической системе применяется регулятор напряжения модели РР 356, что отличается от схемы электропроводки, используемой в ЗИЛ 130.
Основные функции данного устройства включают:
- Автоматическое поддержание установленного уровня напряжения генератора;
- Обеспечение режима зарядки аккумуляторной батареи;
- Гарантированную стабильную работу всех остальных электрических потребителей.
Для справки: Регулятор напряжения является бесконтактным устройством, основанным на полупроводниковых элементах.
Он выполнен в корпусе, который нельзя разобрать, и не подлежит ремонту.
Одной из характерных черт регулятора является отсутствие возможности ручной настройки его параметров со стороны водителя.

Выводы
Выражаем уверенность, что данная статья поможет вам более детально разобраться в особенностях строения электропроводки автомобилей КАМАЗ. А видео на нашем сайте даст практические уроки по обслуживанию основных узлов и агрегатов.
Предохранители и реле
Электропроводка автомобиля КАМАЗ 5511 включает в себя множество компонентов, среди которых предохранители и реле играют ключевую роль в обеспечении надежности и безопасности электрической системы. Эти элементы предназначены для защиты как самой электросхемы, так и электрических потребителей от возможных повреждений, вызванных короткими замыканиями, перегрузками и другими неисправностями.
Предохранители представляют собой устройства, которые разрывают электрическую цепь в случае превышения допустимого тока. В КАМАЗ 5511 используются предохранители различных типов, включая стеклянные и пластмассовые. Каждый предохранитель имеет определенное номинальное значение, которое указывает максимальный ток, при котором он может нормально функционировать. При превышении этого значения предохранитель срабатывает, предотвращая дальнейшее прохождение тока и защищая тем самым проводку и подключенные устройства.
Важным аспектом является правильный выбор предохранителей. Неправильный номинал может привести к частым срабатываниям или, наоборот, к недостаточной защите. Поэтому при замене предохранителей необходимо учитывать спецификации, указанные в руководстве по эксплуатации автомобиля.
Реле, в свою очередь, служат для управления большими токами с помощью малых. Это позволяет использовать низковольтные сигналы для включения и отключения более мощных потребителей, таких как стартер, фары или насосы. Реле также помогают снизить нагрузку на переключатели и другие элементы управления, увеличивая их срок службы.
В КАМАЗ 5511 используются как механические, так и электронные реле. Механические реле работают на основе электромагнитного принципа, тогда как электронные реле могут управляться с помощью полупроводниковых элементов, что делает их более надежными и долговечными. При установке реле важно следить за правильной полярностью подключения, так как это может повлиять на их работоспособность.
Кроме того, в системе электропроводки КАМАЗ 5511 предусмотрены специальные блоки предохранителей и реле, которые упрощают доступ к этим элементам и обеспечивают их защиту от внешних воздействий. Эти блоки обычно располагаются в удобных для обслуживания местах, что позволяет быстро заменять предохранители и реле при необходимости.
Важно также регулярно проверять состояние предохранителей и реле, так как со временем они могут выходить из строя. Признаками неисправности могут служить перегрев, обгоревшие контакты или механические повреждения. Профилактическое обслуживание и замена этих компонентов помогут избежать серьезных проблем с электросистемой автомобиля.
Таким образом, предохранители и реле являются неотъемлемой частью схемы электропроводки КАМАЗ 5511, обеспечивая защиту как электрических потребителей, так и самой проводки. Их правильный выбор, установка и регулярное обслуживание способствуют надежной и безопасной эксплуатации автомобиля.
Вопрос-ответ
Какова основная функция защиты электросхем в КАМАЗ 5511?
Основная функция защиты электросхем в КАМАЗ 5511 заключается в предотвращении коротких замыканий и перегрузок, которые могут привести к повреждению проводки и электрических компонентов. Для этого используются предохранители и реле, которые отключают цепь в случае превышения допустимого тока.
Какие основные элементы входят в схему электропроводки КАМАЗ 5511?
В схему электропроводки КАМАЗ 5511 входят такие основные элементы, как аккумулятор, генератор, стартер, предохранители, реле, а также различные датчики и исполнительные механизмы. Эти компоненты обеспечивают работу электрической системы автомобиля и взаимодействуют друг с другом для выполнения необходимых функций.
Как правильно обслуживать электропроводку КАМАЗ 5511?
Правильное обслуживание электропроводки КАМАЗ 5511 включает регулярную проверку состояния проводов и соединений, очистку контактов от коррозии, а также замену поврежденных предохранителей и реле. Также важно следить за уровнем заряда аккумулятора и состоянием генератора, чтобы избежать проблем с электросистемой.
Советы
СОВЕТ №1
Перед началом работы с электропроводкой КАМАЗ 5511 обязательно ознакомьтесь с электрической схемой. Это поможет вам лучше понять, как устроена система, и избежать ошибок при подключении или ремонте.
СОВЕТ №2
Используйте качественные защитные устройства, такие как предохранители и реле, чтобы предотвратить перегрузки и короткие замыкания. Это не только защитит электросхему, но и продлит срок службы электрических компонентов вашего автомобиля.
СОВЕТ №3
Регулярно проверяйте состояние проводки и соединений на наличие повреждений или коррозии. Своевременная диагностика поможет избежать серьезных проблем в будущем и обеспечит надежную работу всех электрических систем.
СОВЕТ №4
При замене или модернизации электропроводки используйте провода и компоненты, соответствующие оригинальным характеристикам. Это обеспечит совместимость и надежность работы системы, а также снизит риск возникновения неисправностей.


